关键词: 91免费版污网站生产厂家
销售热线
0631-5626879
产品中心
PRODUCT CENTER
销售热线
0631-5626879

矿用阀门

当前位置:首页 > 产品中心 > 矿用阀门 >

隔膜阀

1、应用场合
在涉及磨损性或腐蚀性浆料,粉状物或粒状物的关闭或控制操作时,隔膜阀是最佳的选择方案之一。

2、技术参数
尺寸范围:DN20、40、50等
温度范围:0-80℃
公称压力:1.0MPa
关 闭 件:橡胶隔膜
执行标准:
设计与制造标准 GB/T 12239
试验与检验 JB/T9092
结构长度 GB/T 12221
法兰标准 GB/T 9119,1.0MPa

3、性能特点
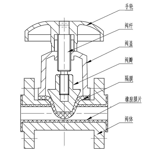
隔膜阀是一种特殊形式的截断阀,其启闭件是一块用软质材料制成的隔膜,它将阀体内腔与阀盖内腔隔开。
3.1 可实现100%气泡级密封,保证下游绝对零泄漏。
3.2 双向全通径流道,减小压降,降低磨损,延长使用寿命。
3.3 自动清洁,不会卡住或堵塞。
3.4 完全免维护设计。
3.5 无金属部件与料浆直接接触。
3.6 模块化设计的隔膜,方便使用者自行更换。

4、法兰连接尺寸 

公称通径DN 法兰外径D 螺栓孔中心圆直径K 螺栓孔径L 螺栓
数量n 螺纹规格
20 105 75 14 4 M12
32 140 100 18 4 M16
40 150 110 18 4 M16
50 165 125 18 4 M16

5、阀门材料

阀门结构

序号 零部件名称 材料 备注
1 阀体 HT200/CF8  
2 阀盖 HT200/CF8  
3 阀瓣 HT200  
4 阀杆 2Cr13/304  
5 隔膜 橡胶 多种材料可选
6 橡胶膜片 橡胶 多种材料可选
7 标准件 304/316  
8 手轮 HT200/CF8  
注:型号不同阀门材质会存在差异。

上一篇:W系列阀门

下一篇:管夹阀

返回
网站地图